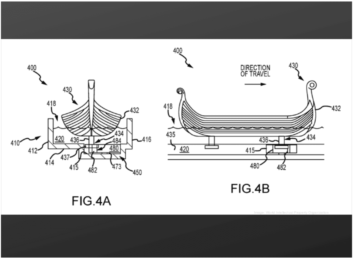
Disney patents new “Capturepult” mechanism for water rides
Just before Labor Day weekend, while everyone had their eyes on Hurricane Dorian, Disney published a new patent. Titled “Boat Capture and Launch System for... Read more.
Why you Want to be at a Disney Resort Hotel During a Hurricane
It’s time to take a moment and talk about what happens when a hurricane decides to take a Disney Vacation. In August of 2019, Hurricane Dorian was bearing... Read more.
EPCOT’s revamp brings the theme park closer to Walt Disney’s vision
At D23 2019, it was announced that the Experimental Prototype Community of Tomorrow is about to undergo a massive revamp. “Future World” is no more, and World... Read more.
Disney is building a new Frozen themed roller coaster
In the wave of Disney Park announcements, D23 attendees got a first look at the Frozen additions coming to Disneyland Hong Kong, including a “Frozen”-themed... Read more.
What We Know About Disney World’s “Genie” Vacation Planning App
Disney Parks panel attendees at the 2019 D23 Expo first learned that Genie will soon here to help you with your vacation planning, and you won’t be limited... Read more.
Disney Cruise Line reveals fifth ship and all-new private island
Some amazing Disney Cruise Line news was revealed this weekend, and we’re so excited that we’ll be booking trips as soon as possible! Today at... Read more.
Cirque du Soleil Collaborates with Disney Imagineers and Animators in return to Disney Springs
For the first time ever two different kinds of magic will come together to create a theatrical masterpiece! Walt Disney Imagineering, Walt Disney Animation and Cirque... Read more.
Real People. Real Heroes: “Marvel’s Hero Project” Series for Disney+
Marvel has announced that they will turn some focus away from their cinematic universe so they can shine a light on our own. “Marvel’s Hero Project” will... Read more.
Pratt, Holland, and Louis-Dreyfus discuss playing a family in Disney/Pixar’s “Onward”
If the perfect movie family could ever exist, it looks like Pixar has found one that’s pretty darn close. Late this morning, Chris Pratt, Tom Holland, and Julia... Read more.
Kit Harington Appears with “The Eternals” Cast at D23
One of the most talked-about installments of Marvel’s Phase 4 finally has shown its cast to the world, and one of the biggest rumors of the weekend has... Read more.