There’s something electric about the day a new Disney patent surfaces. For fans of the parks, it feels like peeking behind the curtain of the future—catching a glimpse of the next big thing before it ever reaches a construction site.
For decades, The Walt Disney Company has built its reputation on innovation. From groundbreaking Audio-Animatronics to trackless ride systems and projection mapping, Disney Parks have consistently raised the bar for immersive storytelling. Guests don’t just ride attractions—they step into living, breathing worlds.
That’s why every filing sparks speculation. Is this the next evolution of animatronics? A bold new roller coaster? Or perhaps something entirely unexpected?

Disney Has a History of Turning Patents Into Park-Changing Technology
Back in September 2025, Disney filed a patent that hinted at a major upgrade to the animatronics seen throughout its parks. While that specific technology hasn’t been implemented exactly as described, upgrades are already happening. Guests recently noticed enhancements aboard Frozen Ever After at EPCOT, proving that innovation is never far behind.
Patents, of course, don’t always translate directly into attractions. Disney has filed countless applications over the years that never made it past the drawing board—or at least haven’t yet. Still, they offer valuable clues.
And now, another filing has fans buzzing.

A New Ride System Design Suggests Something Much Bigger Is in Motion
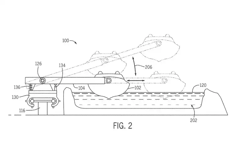
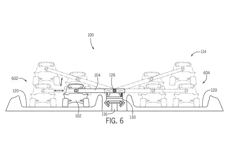
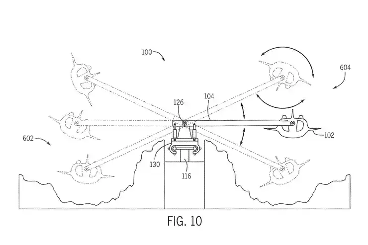
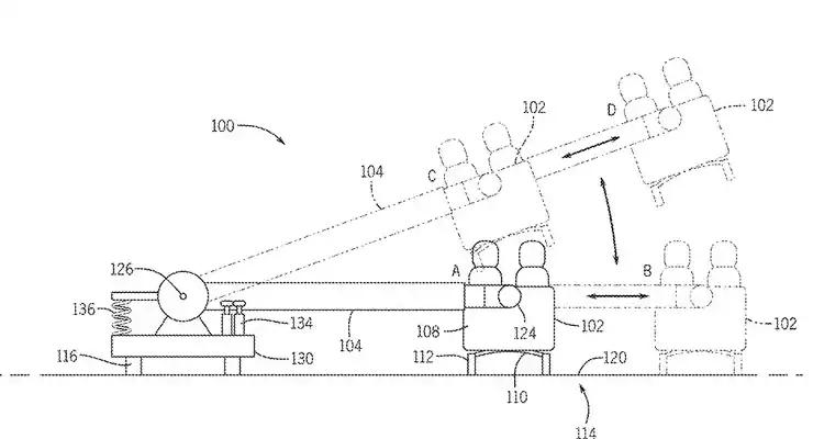
The newly filed patent outlines a ride system built around a boom arm attached to a ride vehicle via a chassis. At first glance, that might not sound revolutionary—but the implications are enormous.
As described in the filing, the boom arm would allow the ride vehicle to change its position relative to the track while moving. That means the vehicle could shift up and down, move side to side, and even pivot independently of the track beneath it.
In simpler terms? Guests wouldn’t just be riding forward.
The application specifically outlines ways this system could simulate dynamic movements, including lifting the vehicle off the track in a “jump,” swerving to avoid obstacles, creating “acceleration boosts,” and adjusting height to mimic ramps or hills. It even suggests the possibility of multiple ride paths.
For theme park enthusiasts, this reads less like a standard dark ride and more like a hybrid experience—one that blurs the line between coaster thrills and interactive storytelling.

Social Media Is Already Connecting the Dots
Within hours of the patent surfacing, fans took to X (formerly Twitter) and Reddit to speculate. Some called it “the future of Disney attractions.” Others wondered whether it could finally introduce a more competitive, guest-controlled ride experience.
One Reddit thread pointed out that the mention of multiple tracks—including third and fourth track options—could mean every ride experience is different. That level of variability is something Disney has experimented with before, but rarely on this scale.
“Imagine being able to pivot onto a completely different path mid-ride,” one fan wrote. “That’s next-level immersion.”
Fans are heartbroken when beloved attractions close—but they’re equally energized when innovation is on the horizon. And this filing feels like more than just incremental improvement.

Here’s What the Patent Could Actually Mean for Disney’s Park Expansions
The big question becomes unavoidable: where would this technology even fit?
While there has been no official confirmation, one potential match stands out—the Rally Race attraction planned for Piston Peak. The patent specifically describes a scenario in which guests could maneuver and control their ride vehicle. That concept aligns seamlessly with a racing-themed experience.
Imagine vehicles that don’t simply follow a track but actively respond to rider input—swerving, boosting, pivoting, even “jumping” as part of the storyline. Add in multiple track options, and you suddenly have a ride that could feel different every time.
It’s important to stress that this patent is currently just an application. It hasn’t been granted, and Disney frequently files patents that don’t result in immediate implementation—or any implementation at all.
Still, the timing is interesting. With multiple park expansions underway, the company clearly isn’t slowing down on innovation.

What This Could Mean for Future Disney World Visitors
If implemented, this system could mark a major shift in how guests experience attractions at Walt Disney World and beyond. It would combine controlled movement, interactive elements, and immersive storytelling in a way we haven’t quite seen before.
For future travelers, that could mean attractions that feel less predictable and more personalized. It could also mean a renewed focus on repeatability—encouraging guests to ride again and again to discover alternate paths or outcomes.
Of course, until Disney makes an official announcement, everything remains speculative. The patent itself is simply a window into possibility.
But as history has shown, when Disney starts experimenting with movement technology, something big usually follows.
The end of an era? Not quite. But perhaps the beginning of the next one.
What do you think—could this patent power the Rally Race attraction at Piston Peak, or is Disney planning something even bigger? Let us know your thoughts.
Source: WDWMagic